Articles in press have been peer-reviewed and accepted, which are not yet assigned to volumes /issues, but are citable by Digital Object Identifier (DOI).
Display Method:
2025, Volume 46, Issue 9
publish date:September 01 2025
Display Method:
2025, 46(9): 1083-1107.
doi: 10.21656/1000-0887.450176
Abstract:
The application of polyurea elastomer to impact protection has broad prospects. However, the physical mechanisms of dynamic deformation and failure of the polyurea under high-pressure impact, delamination, and other conditions are still unclear. Besides, effective constitutive and damage models to describe the dynamic behaviors of polyurea under various strain rates and stress states are still scarce. In response to these challenging issues, the dynamic behaviors of polyurea elastomers under different strain rates, impact pressures, and stress states were systematically studied through experimental characterization, molecular dynamics simulation, and macroscopic mechanical modeling. Full atomic and 2 coarse-grained models for polyurea were established, its microstructure evolution was analyzed, and the microscopic physical mechanisms of deformation and failure of polyurea under high-strain-rate tension, high-pressure impact and high stress triaxiality loading, were revealed. A constitutive model for polyurea elastomers was established in view of the coupling effects of strain rates, temperature and pressure under strong impact. A macroscopic damage model uniformly describing multiple deformation modes was built, including void nucleation criteria and void flow rules. Through verification, the established macroscopic mechanical models can accurately describe the dynamic behaviors of polyurea under impact loading. This work provides a guidance for the optimization design and impact protection application of polyurea elastomers in the future.
The application of polyurea elastomer to impact protection has broad prospects. However, the physical mechanisms of dynamic deformation and failure of the polyurea under high-pressure impact, delamination, and other conditions are still unclear. Besides, effective constitutive and damage models to describe the dynamic behaviors of polyurea under various strain rates and stress states are still scarce. In response to these challenging issues, the dynamic behaviors of polyurea elastomers under different strain rates, impact pressures, and stress states were systematically studied through experimental characterization, molecular dynamics simulation, and macroscopic mechanical modeling. Full atomic and 2 coarse-grained models for polyurea were established, its microstructure evolution was analyzed, and the microscopic physical mechanisms of deformation and failure of polyurea under high-strain-rate tension, high-pressure impact and high stress triaxiality loading, were revealed. A constitutive model for polyurea elastomers was established in view of the coupling effects of strain rates, temperature and pressure under strong impact. A macroscopic damage model uniformly describing multiple deformation modes was built, including void nucleation criteria and void flow rules. Through verification, the established macroscopic mechanical models can accurately describe the dynamic behaviors of polyurea under impact loading. This work provides a guidance for the optimization design and impact protection application of polyurea elastomers in the future.
2025, 46(9): 1108-1118.
doi: 10.21656/1000-0887.450185
Abstract:
To address the modeling complexity and large computational load in optimizing the buckling performance of bolted stiffened panels, a hybrid optimization strategy based on the Kriging surrogate model and the multi-point constraint (MPC) approximation model was proposed. Firstly, the MPC connection was utilized to establish an approximate stiffened panel model for the finite element buckling analysis, to replace the analysis of many high-precision stiffened panel models in the experimental design. Then, a prediction function for MPC parameters was built with the Kriging surrogate model, and the sample points of the surrogate model were updated during optimization iterations to ensure the computational accuracy of the approximation model. Finally, based on the established MPC approximation model, the lightweight design and the performance optimization design of bolted stiffened panels were conducted. The numerical results demonstrate that, the proposed hybrid optimization method improves the computational efficiency by approximate 10 times compared with traditional optimization methods. In the lightweight design, the weight of the stiffened panel structure reduces by 26.18% while maintaining the same buckling capacity. In the performance optimization design, the ultimate buckling capacity increases by 23.67%.without significant change in the structural mass.
To address the modeling complexity and large computational load in optimizing the buckling performance of bolted stiffened panels, a hybrid optimization strategy based on the Kriging surrogate model and the multi-point constraint (MPC) approximation model was proposed. Firstly, the MPC connection was utilized to establish an approximate stiffened panel model for the finite element buckling analysis, to replace the analysis of many high-precision stiffened panel models in the experimental design. Then, a prediction function for MPC parameters was built with the Kriging surrogate model, and the sample points of the surrogate model were updated during optimization iterations to ensure the computational accuracy of the approximation model. Finally, based on the established MPC approximation model, the lightweight design and the performance optimization design of bolted stiffened panels were conducted. The numerical results demonstrate that, the proposed hybrid optimization method improves the computational efficiency by approximate 10 times compared with traditional optimization methods. In the lightweight design, the weight of the stiffened panel structure reduces by 26.18% while maintaining the same buckling capacity. In the performance optimization design, the ultimate buckling capacity increases by 23.67%.without significant change in the structural mass.
2025, 46(9): 1119-1129.
doi: 10.21656/1000-0887.450214
Abstract:
To reveal the damage mechanism of asphalt pavement under single and multiple loadings with respect to the variations in the magnitude and direction of the principal stress, an asphalt pavement structure model was constructed with the finite element method. The stress paths and the direction cosine variations of the principal stresses in asphalt pavement structural elements under different numbers of axle loads were investigated. The results show that, under both single and multiple loadings, the stress path and the rotation intensity of the principal stress axis in the pavement structural elements change over time. During the movement of the load, as the wheel passes over the examined section, the direction cosine value corresponding to the principal stress alternates between positive and negative ones. Moreover, due to the interactions between different wheels, the positive and negative peak values of the direction cosines for different wheels differ. The direction cosine values of the 1st principal stress alternately switch between positive and negative ones both in the transverse and longitudinal directions, indicating that the principal stress direction experiences abrupt changes during vehicle loading. Furthermore, the alternations become more complex under multiple wheel loadings. Under prolonged cyclic loadings, this can lead to the formation of cracks in the pavement.
To reveal the damage mechanism of asphalt pavement under single and multiple loadings with respect to the variations in the magnitude and direction of the principal stress, an asphalt pavement structure model was constructed with the finite element method. The stress paths and the direction cosine variations of the principal stresses in asphalt pavement structural elements under different numbers of axle loads were investigated. The results show that, under both single and multiple loadings, the stress path and the rotation intensity of the principal stress axis in the pavement structural elements change over time. During the movement of the load, as the wheel passes over the examined section, the direction cosine value corresponding to the principal stress alternates between positive and negative ones. Moreover, due to the interactions between different wheels, the positive and negative peak values of the direction cosines for different wheels differ. The direction cosine values of the 1st principal stress alternately switch between positive and negative ones both in the transverse and longitudinal directions, indicating that the principal stress direction experiences abrupt changes during vehicle loading. Furthermore, the alternations become more complex under multiple wheel loadings. Under prolonged cyclic loadings, this can lead to the formation of cracks in the pavement.
2025, 46(9): 1130-1146.
doi: 10.21656/1000-0887.450255
Abstract:
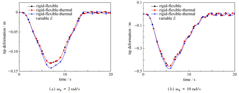
During space missions, spacecrafts are subjected to complex thermal loads in the space environment, suffering significant temperature variations in their flexible structures. These temperature variations can induce strongly nonlinear thermo-dynamic coupling responses, which may, in severe cases, cause spacecraft failure. For large and low-stiffness flexible structures, even a slight change in the material elastic modulus can result in significant system responses. Therefore, it is essential to analyze the effects of temperature-dependent elastic moduli on the dynamics of rigid-flexible-thermal coupled systems. The absolute nodal coordinate formulation (ANCF) was applied, where both displacement and temperature fields are described with positions and gradients as generalized coordinates. The temperature-dependent material elastic modulus was considered, and an isoparametric element with unified shape function interpolation for both displacement and temperature fields was proposed. The system’s dynamic equations were derived based on the principle of virtual work, and the heat transfer equations were derived from the law of energy conservation. The generalized-α method was used to simultaneously solve these 2 sets of equations at each time step. The validity of the proposed model was first verified with the Boley simply supported beam. Then, the rigid-flexible-thermal coupled dynamic models were established for a rotating flexible beam and a spacecraft with a central rigid body and laminate solar panels. Dynamic analyses and comparisons were conducted for cases with and without temperature-induced changes in the material elastic modulus. The results show that, during the heat transfer process, compared to the effects of thermal stress on the system responses, the decrease in the material elastic modulus under thermal environment has a more significant impact on the system response. For rotating flexible beams, Ewith angular velocity ω0=2 rad/s and 10 rad/s, the maximum tip deformation increases by 9.7% and 4.5% respectively compared to that in the rigid flexible coupling case. For the central rigid body sandwich panel, with moment M0=200 N·m and 2 000 N·m, the maximum deformation at the test point increases by 8.7% and 7.1% respectively compared to that in the rigid flexible coupling case. The effects of temperature induced changes in the material elastic modulus on the dynamic responses of rigid flexible thermal coupling systems cannot be ignored, and the work provides a reference for the design of spacecraft control systems.
During space missions, spacecrafts are subjected to complex thermal loads in the space environment, suffering significant temperature variations in their flexible structures. These temperature variations can induce strongly nonlinear thermo-dynamic coupling responses, which may, in severe cases, cause spacecraft failure. For large and low-stiffness flexible structures, even a slight change in the material elastic modulus can result in significant system responses. Therefore, it is essential to analyze the effects of temperature-dependent elastic moduli on the dynamics of rigid-flexible-thermal coupled systems. The absolute nodal coordinate formulation (ANCF) was applied, where both displacement and temperature fields are described with positions and gradients as generalized coordinates. The temperature-dependent material elastic modulus was considered, and an isoparametric element with unified shape function interpolation for both displacement and temperature fields was proposed. The system’s dynamic equations were derived based on the principle of virtual work, and the heat transfer equations were derived from the law of energy conservation. The generalized-α method was used to simultaneously solve these 2 sets of equations at each time step. The validity of the proposed model was first verified with the Boley simply supported beam. Then, the rigid-flexible-thermal coupled dynamic models were established for a rotating flexible beam and a spacecraft with a central rigid body and laminate solar panels. Dynamic analyses and comparisons were conducted for cases with and without temperature-induced changes in the material elastic modulus. The results show that, during the heat transfer process, compared to the effects of thermal stress on the system responses, the decrease in the material elastic modulus under thermal environment has a more significant impact on the system response. For rotating flexible beams, Ewith angular velocity ω0=2 rad/s and 10 rad/s, the maximum tip deformation increases by 9.7% and 4.5% respectively compared to that in the rigid flexible coupling case. For the central rigid body sandwich panel, with moment M0=200 N·m and 2 000 N·m, the maximum deformation at the test point increases by 8.7% and 7.1% respectively compared to that in the rigid flexible coupling case. The effects of temperature induced changes in the material elastic modulus on the dynamic responses of rigid flexible thermal coupling systems cannot be ignored, and the work provides a reference for the design of spacecraft control systems.
2025, 46(9): 1147-1157.
doi: 10.21656/1000-0887.450213
Abstract:
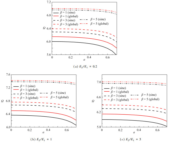
Based on the Timoshenko beam theory, in view of geometric imperfections and cracks, the governing equations for bidirectional functionally graded beams were derived under the Hamiltonian principle. The cracked section was modeled with a massless elastic rotational spring, and the governing equations were solved with the differential quadrature method. The effects of geometric imperfection types, geometric imperfection dimensionless vibration amplitudes, crack depths, and other factors on the dimensionless frequencies were explored. The results show that, for a certain axial functional gradient index value, the dimensionless fundamental frequency increases with the dimensionless amplitude of the geometric imperfection, and decreases with the of crack depth. Moreover, the influence of the global imperfection on the dimensionless fundamental frequency is greater than the sine imperfection.
Based on the Timoshenko beam theory, in view of geometric imperfections and cracks, the governing equations for bidirectional functionally graded beams were derived under the Hamiltonian principle. The cracked section was modeled with a massless elastic rotational spring, and the governing equations were solved with the differential quadrature method. The effects of geometric imperfection types, geometric imperfection dimensionless vibration amplitudes, crack depths, and other factors on the dimensionless frequencies were explored. The results show that, for a certain axial functional gradient index value, the dimensionless fundamental frequency increases with the dimensionless amplitude of the geometric imperfection, and decreases with the of crack depth. Moreover, the influence of the global imperfection on the dimensionless fundamental frequency is greater than the sine imperfection.
2025, 46(9): 1158-1175.
doi: 10.21656/1000-0887.450182
Abstract:
A combined flexible-legged rimless wheels model with variable phase difference was introduced for the analysis of passive walking gait by adjusting the initial value of the system. The model’s motions under various phase differences were simulated, and the effects of phase differences on the walking gait were investigated. Firstly, the 2nd-type Lagrangian method was used to establish a dynamic model for combined flexible legged rimless wheels with variable phase differences, and the initial value was adjusted to gradually form the convergent closed-loop limit cycle for the model motion gait under various phase differences. Secondly, the typical model gaits were simulated and comparatively analyzed to expose the close relationship between the model walking gait and the initial phase difference, which were verified through numerical experiments. The results show that, the variation of the phase differences between the rimless wheel support legs before and after the initial moments change the model periodical motion gait on the inclined plane. With a phase difference close to the half hip angle, the model average moving speed along the inclined plane will decrease, while the bump motion perpendicular to the inclined plane will be relatively small, and the maximum reverse support force in the normal direction of the inclined plane will also be relatively small.
A combined flexible-legged rimless wheels model with variable phase difference was introduced for the analysis of passive walking gait by adjusting the initial value of the system. The model’s motions under various phase differences were simulated, and the effects of phase differences on the walking gait were investigated. Firstly, the 2nd-type Lagrangian method was used to establish a dynamic model for combined flexible legged rimless wheels with variable phase differences, and the initial value was adjusted to gradually form the convergent closed-loop limit cycle for the model motion gait under various phase differences. Secondly, the typical model gaits were simulated and comparatively analyzed to expose the close relationship between the model walking gait and the initial phase difference, which were verified through numerical experiments. The results show that, the variation of the phase differences between the rimless wheel support legs before and after the initial moments change the model periodical motion gait on the inclined plane. With a phase difference close to the half hip angle, the model average moving speed along the inclined plane will decrease, while the bump motion perpendicular to the inclined plane will be relatively small, and the maximum reverse support force in the normal direction of the inclined plane will also be relatively small.
2025, 46(9): 1176-1195.
doi: 10.21656/1000-0887.450148
Abstract:
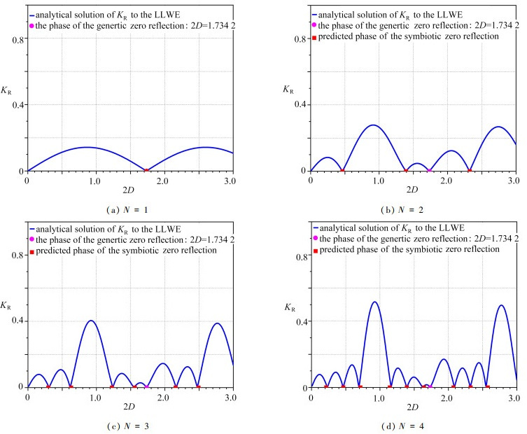
The zero reflection of phenomenon occurring with linear water waves when they pass over a finite periodic array of quasiidealized bars of degree p on a flat seabed is studied. The socalled quasiidealized bar of degree p refers to the water depth function above the bar is a constant plus a monomial of degree p, where p is a positive integer. The results show that, when water waves crossing a periodic array of quasiidealized bars of degree 1 (i.e., triangular bars) with the relative bar height with respect to the water depth being much less than 1, the condition for the generation of genetic zero reflection is that the bar width is exactly a positive even multiple the half wavelength of the incident wave. As p increases, the phase of the genetic zero reflection shifts towards lower frequencies. When p approaches infinity, the quasiidealized bars of degree p tend to be a rectangular bar, and the condition for genetic zero reflection is that the bar width decreases to a positive integer multiple of the half wavelength of the incident wave. In addition, the total number of symbiotic zero reflections between any adjacent Bragg resonance peaks is N-1, and the excitation condition for these zero reflections is that the ratio of the bar spacing to the half wavelength of the incident wave is exactly N-1 zero points of the Chebyshev polynomial of the second kind UN-1(cos(πx)). If the relative bar height with respect to the water depth is not very small, the total number of symbiotic zero reflections between adjacent Bragg resonance peaks is still N-1, and the phases of these zero reflections are approximately equal to the N-1 zero points of UN-1(cos(πx)) minus the mean of the phase shift of the two adjacent resonance peaks, where the latter can be estimated by the modified Bragg’s law. However, at present there is no effective method to predict the phase of the genetic zero reflection. Undoubtedly, this study enriches the understanding of the Bragg resonance reflection induced by periodically arranged artificial sandbars on the seabed, and has potential application values in coastal protection and wave energy extraction.
The zero reflection of phenomenon occurring with linear water waves when they pass over a finite periodic array of quasiidealized bars of degree p on a flat seabed is studied. The socalled quasiidealized bar of degree p refers to the water depth function above the bar is a constant plus a monomial of degree p, where p is a positive integer. The results show that, when water waves crossing a periodic array of quasiidealized bars of degree 1 (i.e., triangular bars) with the relative bar height with respect to the water depth being much less than 1, the condition for the generation of genetic zero reflection is that the bar width is exactly a positive even multiple the half wavelength of the incident wave. As p increases, the phase of the genetic zero reflection shifts towards lower frequencies. When p approaches infinity, the quasiidealized bars of degree p tend to be a rectangular bar, and the condition for genetic zero reflection is that the bar width decreases to a positive integer multiple of the half wavelength of the incident wave. In addition, the total number of symbiotic zero reflections between any adjacent Bragg resonance peaks is N-1, and the excitation condition for these zero reflections is that the ratio of the bar spacing to the half wavelength of the incident wave is exactly N-1 zero points of the Chebyshev polynomial of the second kind UN-1(cos(πx)). If the relative bar height with respect to the water depth is not very small, the total number of symbiotic zero reflections between adjacent Bragg resonance peaks is still N-1, and the phases of these zero reflections are approximately equal to the N-1 zero points of UN-1(cos(πx)) minus the mean of the phase shift of the two adjacent resonance peaks, where the latter can be estimated by the modified Bragg’s law. However, at present there is no effective method to predict the phase of the genetic zero reflection. Undoubtedly, this study enriches the understanding of the Bragg resonance reflection induced by periodically arranged artificial sandbars on the seabed, and has potential application values in coastal protection and wave energy extraction.
2025, 46(9): 1196-1208.
doi: 10.21656/1000-0887.450156
Abstract:
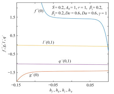
The unsteady oblique stagnation point flow of the Maxwell fluid over a rotating disk with an oscillatory velocity in porous medium, was investigated. To accurately model the unsteady flow in the porous medium, an advanced formulation of the DarcyMaxwell constitutive relation was adopted, in view of the characteristics of the oblique stagnation flow. Furthermore, the slip effect of the fluid was considered, and the pressure term was modified through solution of related ordinary differential equations. Then, the similarity transformation was employed, to change the governing equations into a coupled set of dimensionless partial differential equations. With the homotopy analysis method, an approximate analytical solution to the problem was obtained for the first time. Finally, comprehensive visualizations of the flow dynamics were presented, including 2D streamlines varying with the disk rotational speed and 3D streamlines under varying inclination parameters. Additionally, velocity profiles over time for different amplitudes were plotted, and graphs illustrating the intricate dependence of the velocity on various parameters were provided. The results show that, the augmentation of the Deborah number magnifies the centrifugal force effect and accelerates the flow. The growth of the Darcy parameter causes a concomitant rise of porosity and a higher flow velocity. The increase of the slip parameter, on the one hand, leads to a reduction in the impedance exerted by the wall to the fluid in its vicinity, resulting in an acceleration of the flow, on the other hand, mitigates the impact of centrifugal force on the fluid farther away from the wall, consequently inducing a deceleration of the flow. The research enhances the understanding of the oblique stagnation flow phenomena and provides a foundation for further research in related fields such as spin coating and thinfilm preparation.
The unsteady oblique stagnation point flow of the Maxwell fluid over a rotating disk with an oscillatory velocity in porous medium, was investigated. To accurately model the unsteady flow in the porous medium, an advanced formulation of the DarcyMaxwell constitutive relation was adopted, in view of the characteristics of the oblique stagnation flow. Furthermore, the slip effect of the fluid was considered, and the pressure term was modified through solution of related ordinary differential equations. Then, the similarity transformation was employed, to change the governing equations into a coupled set of dimensionless partial differential equations. With the homotopy analysis method, an approximate analytical solution to the problem was obtained for the first time. Finally, comprehensive visualizations of the flow dynamics were presented, including 2D streamlines varying with the disk rotational speed and 3D streamlines under varying inclination parameters. Additionally, velocity profiles over time for different amplitudes were plotted, and graphs illustrating the intricate dependence of the velocity on various parameters were provided. The results show that, the augmentation of the Deborah number magnifies the centrifugal force effect and accelerates the flow. The growth of the Darcy parameter causes a concomitant rise of porosity and a higher flow velocity. The increase of the slip parameter, on the one hand, leads to a reduction in the impedance exerted by the wall to the fluid in its vicinity, resulting in an acceleration of the flow, on the other hand, mitigates the impact of centrifugal force on the fluid farther away from the wall, consequently inducing a deceleration of the flow. The research enhances the understanding of the oblique stagnation flow phenomena and provides a foundation for further research in related fields such as spin coating and thinfilm preparation.
2025, 46(9): 1209-1217.
doi: 10.21656/1000-0887.450177
Abstract:
To improve the performance of the engineering centrifugal fire pump, a highperformance centrifugal fire pump with high efficiency, low vibration and flat head curve was designed and optimized based on the prototype pump. Aimed at the existing problems of the fire pump, with the computational fluid dynamics method, 3 optimization plans were designed and compared through increase of the auxiliary blade and change of the auxiliary blade length. The results show that, all the 3 optimization plans can improve the fire pump performance to some extent. Optimization plan 2 has a lift of 42.6 m at the design point and an efficiency of 68.46%, eliminates the hump phenomenon, reduces the shaft power and improves the pump efficiency, which is synthetically chosen as the best plan. The research results have guiding significance for improving the fire pump performance and reducing the fire pump shaft power.
To improve the performance of the engineering centrifugal fire pump, a highperformance centrifugal fire pump with high efficiency, low vibration and flat head curve was designed and optimized based on the prototype pump. Aimed at the existing problems of the fire pump, with the computational fluid dynamics method, 3 optimization plans were designed and compared through increase of the auxiliary blade and change of the auxiliary blade length. The results show that, all the 3 optimization plans can improve the fire pump performance to some extent. Optimization plan 2 has a lift of 42.6 m at the design point and an efficiency of 68.46%, eliminates the hump phenomenon, reduces the shaft power and improves the pump efficiency, which is synthetically chosen as the best plan. The research results have guiding significance for improving the fire pump performance and reducing the fire pump shaft power.
2025, 46(9): 1218-1232.
doi: 10.21656/1000-0887.450322
Abstract:
Turbidity currents in reservoirs are significant for improving reservoir utilization efficiency, efficient sediment discharge, and extending the reservoir lifespan. They are also crucial in water and sediment regulation schemes for sediment-laden rivers. The governing equations for turbidity currents were established and the evolution characteristics of turbidity currents in the Xiaolangdi Reservoir were analyzed through integration of the effective suspension power theory and the self-similarity theory for turbidity currents. The results indicate that, the turbidity current in Xiaolangdi Reservoir exhibits 3 distinct evolutionary states: attenuation, self-suspension, and activation. During its longitudinal evolution, there exists a critical position x0c. Upstream of x0c,the turbidity current thickness, sediment concentration, and flow velocity exhibit minimal responses to changes in particle sizes, slopes, and resistance coefficients. Downstream of x0c,the turbidity current thickness increases rapidly with the rises in particle sizes, slopes, and resistance coefficients. An increase or decrease in particle sizes can cause the turbidity current to transition from the activation state to the attenuation or self-suspension state, respectively. When the slope exceeds the critical value, the turbidity current will transition to the activation state. When the resistance coefficient will surpass the critical resistance coefficient, and the turbidity current will gradually transition to the attenuation state, whereas a resistance coefficient below the critical value will make the turbidity current maintain in its original state. As the Richardson number decreases at the plunging point, the growth rate of the turbidity current thickness downstream of x0c will slow, the stability of the turbidity current will weaken, and the turbidity current will transition to the attenuation state. In the activation state, the flow velocity of the turbidity current will increase downstream of x0c.These findings provide a theoretical foundation for understanding the movement characteristics of reservoir turbidity currents and offer theoretical support for developing regulation schemes during water and sediment management in sediment-laden river reservoirs.
Turbidity currents in reservoirs are significant for improving reservoir utilization efficiency, efficient sediment discharge, and extending the reservoir lifespan. They are also crucial in water and sediment regulation schemes for sediment-laden rivers. The governing equations for turbidity currents were established and the evolution characteristics of turbidity currents in the Xiaolangdi Reservoir were analyzed through integration of the effective suspension power theory and the self-similarity theory for turbidity currents. The results indicate that, the turbidity current in Xiaolangdi Reservoir exhibits 3 distinct evolutionary states: attenuation, self-suspension, and activation. During its longitudinal evolution, there exists a critical position x0c. Upstream of x0c,the turbidity current thickness, sediment concentration, and flow velocity exhibit minimal responses to changes in particle sizes, slopes, and resistance coefficients. Downstream of x0c,the turbidity current thickness increases rapidly with the rises in particle sizes, slopes, and resistance coefficients. An increase or decrease in particle sizes can cause the turbidity current to transition from the activation state to the attenuation or self-suspension state, respectively. When the slope exceeds the critical value, the turbidity current will transition to the activation state. When the resistance coefficient will surpass the critical resistance coefficient, and the turbidity current will gradually transition to the attenuation state, whereas a resistance coefficient below the critical value will make the turbidity current maintain in its original state. As the Richardson number decreases at the plunging point, the growth rate of the turbidity current thickness downstream of x0c will slow, the stability of the turbidity current will weaken, and the turbidity current will transition to the attenuation state. In the activation state, the flow velocity of the turbidity current will increase downstream of x0c.These findings provide a theoretical foundation for understanding the movement characteristics of reservoir turbidity currents and offer theoretical support for developing regulation schemes during water and sediment management in sediment-laden river reservoirs.

Download Center
More>
CopyRight